Produktbeschreibung
Bootswendegetriebe TECHNODRIVE TMC 60A
Vorwärtsuntersetzung 2,00
Technische Daten
• Mechanisches, konisches Getriebe mit Servosystem
• Schrägverzahnung, gehärtet und zementiert
• Winkel Ausgangswelle: 7°
Vorwärtsuntersetzung 2,00
Rückwärtsuntersetzung 2,17
Max. Drehmoment (Nm):
Freizeit 130
Beruflich 91
Max. Eingangsdrehzahl 4500 U/min 1
Freizeit 52 kW
Beruflich 39 kW
Ölfüllung 0,60 l
Öl Typ ATF
Gewicht ohne Öl 15 kg
Für linksdrehende Propeller
muß der Rückwärtsgang als Vorwärtsgang gebraucht werden.
Maximale Leistung in Rückwärtsgang:
TMC 60A R = 2,00 en 2,45: 33% der angegebene Leistung
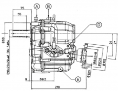
A: Entlüftung
B: Öleinfüllstutzen
C: Ölpeilstock
D: Anschluss Fernbedienung
E: Ölablass
Berechnung des max. Drehmoment des Motors
Max. Leistung des Motors in PS
Drehzahl des Motors (N) x 7120 Max = max. Drehmoment (Nm)
Einheiten: 1 kgm = 9,807 Nm, 1 PS = 0,736 kW, 1 kg = 9,807 N, 1 Kn = 1000 N
Diesen Artikel haben wir am 23.11.2013 in unseren Katalog aufgenommen.
